Esta tecnología podría ser empleada para sustituir a los limpiaparabrisas convencionales, además de para limpiar las ópticas de las cámaras que equipan los coches (como las de los sistemas ADAS), así como para los paneles solares que montarán en el futuro.
Gracias a esta tecnología, las cámaras de los sistemas ADAS podrían instalarse mucho más arriba en los parabrisas panorámicos, que se extienden hacia el techo. Ahora no es posible porque los limpiaparabrisas no llegan a limpiar esa zona, lo que impide el montaje de las cámaras tan arriba.
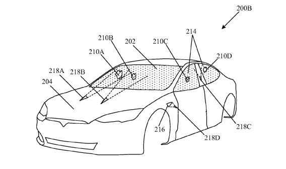
De esta forma, se puede cubrir toda la superficie del parabrisas y también permitiría instalar las cámaras de los sistemas ADAS más arriba. Este sistema reduce de forma significativa la fricción y mejora la aerodinámica, lo que repercute en los consumos; además de eliminar muchos mecanismos susceptibles de sufrir corrosión con el paso del tiempo.
Cámaras siempre limpias
Estas patentes de Tesla buscan que las cámaras de los sistemas ADAS —y de los futuros sistemas de conducción autónoma— estén siempre limpias. Y es que la información que trasmiten es clave para el correcto funcionamiento de los sistemas de seguridad y de asistencia a la conducción del vehículo.
Además de la limpieza, el correcto mantenimiento de los sistemas ADAS es clave para que funcionen correctamente con el paso del tiempo. Por ejemplo, cuando se sustituye un parabrisas y se desmontan las cámaras del cristal roto para montarlas en el nuevo, estas cámaras han de ser recalibradas para asegurar que “apuntan” con precisión al lugar indicado por el fabricante y transmiten la información correcta a los sistemas de seguridad.
En este sentido, la FIA (Federación Internacional de Automovilismo) ha solicitado “asegurar procesos transparentes de calibración para que los sistemas ADAS mantengan su eficacia con el paso del tiempo”. En unas pruebas efectuadas por el instituto MIRA se ha demostrado que cuando las cámaras fallan por una mala recalibración, el coche no es capaz de realizar un reconocimiento fiable del entorno y los sistemas de seguridad fallan.




